这段时间,全铝家居行业为不断疯涨的铝锭价格所困扰。我们先看一看2026年1月份以来的南海有色铝锭价格:

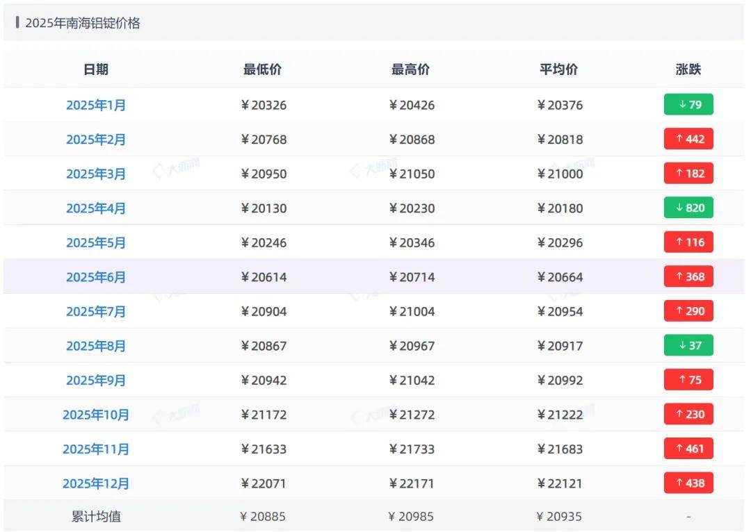
从价格表可以看出,刚刚过完元旦,铝锭价格就一路疯涨,最高已经达到了25040元/吨。相比2025年同期,差不多上涨了5000元/吨。以下是2025年全年按月计算的南海铝锭价格:

可以看出,从2025年9月份以来,铝锭价格就一路上涨,确实对于所有铝相关产业都造成了压力,全铝家居也不例外。那么,铝锭价格上涨,到底对于全铝家居的生产成本影响有多大呢?今天,我们就以铝锭价格每上涨1000元/吨为基础,来算一算全铝家居成本的变动。
在全铝家居的生产成本中,按照材料类别,主要分为焊接整板和铝蜂窝板。我们仅仅计算铝锭价格变动对于焊接整板和铝蜂窝板的影响。
先来计算一下铝锭价格上涨对焊接整板的成本影响:
当前市面上的焊接整板,以0.8mm厚度光板的为主,我们就以这个为基础,计算一下铝锭价格每上涨1000元/吨,焊接整板价格上涨了多少?
由于焊接整板还有焊接筋,所以其实际重量要多过上述数据。根据众多焊接整板生产企业提供的数据,焊接整板的重量基本在6.7公斤/平方米。因此,我们就可以得出,若铝锭价格上涨1000元/吨,即:1元/公斤,那么每平方米焊接整板的价格要上涨6.7元。

相对而言,焊接整板的价格比较好计算,因为焊接整板的计算方式是按照重量进行,企业赚取铝材加工费为利润收入。因此,铝锭价格上涨多少,焊接整板只是按照出厂重量进行称重,按照出货时候的铝锭价格,再加上约定的加工费,就可以得出焊接整板出厂价。
与焊接整板相比,铝蜂窝板的价格变动,就比较难以计算了。抛开胶水、表面的膜或者喷涂等因素,仅仅计算铝蜂窝板受铝价影响的情况,我们需要关注以下参数:1、铝蜂窝板光铝皮的厚度;2、铝蜂窝芯的厚度和边距。
现在,我们以0.6mm的光铝皮厚度、0.035mm的铝蜂窝芯厚度和3x3mm铝蜂窝芯边距、16.8mm的铝蜂窝芯厚度的参数为例,若铝锭价格上涨1000元,则该蜂窝板的价格,每平方米上涨了多少?
计算蜂窝芯用量(每平方米)
标准工程公式(正六边形蜂窝):铝重量=3×a8×t×ρ×H
其中:
总用铝量(每平方米):3.24kg+1.411kg=4.651kg
成本上涨(每平方米):4.651kg×1元/kg≈4.65元
因此,以0.6mm的光铝皮厚度、0.035mm的铝蜂窝芯厚度和3x3mm铝蜂窝芯边距、16.8mm的铝蜂窝芯厚度的参数为例,铝锭价格上涨1000元/吨,预计导致该铝蜂窝板每平方米成本直接上涨约 4.65 元。

当然,以上关于产品成本方面的计算,仅供参考,毕竟每家企业的生产,还涉及到众多环节和其他材料。总而言之,这一轮的铝锭价格上涨,对于全铝家居生产成本而言,确实是不小的压力。
那么,如何突破铝锭价格上涨的压力呢?其实,最根本的,依然是要提升产品的价值,通过价值提升来清除材料价格上涨带来的影响。全铝家居的价值提升,需要从设计、营销、品牌等众多方面进行,这就是《全铝家居商讯》一直强调的全铝家居行业进入的“新周期”:不再是纯粹的产品和技术周期,而是进入到营销和品牌的周期。在这个“新周期”里,我们也希望更多优秀企业、优秀品牌能够克服原材料价格上涨的因素,赢得更好的市场。



欢迎加入健康家居全铝专委会
会员名录
会长:华铝家居
执行会长:哈罗铝家居、兴德亿数控
副会长:铝派全铝家居、左邻五金、非木宜居、一铭数控、山铝、金照全铝家居、红马数控、奥净嘉生态膜、科木雅高定铝家居、天津鲸装全铝家居
会员:怡恒佳、邦滴、辉亚数控、集兴、新俊数控、安纳西、金泓宇机械、逸群、明德平贴机械、中鼎智能家具、鼎丰数控、耐斯克五金、成都轩跃阳台柜、河北艾瑞斯全铝家居、训琪无胶铝蜂窝板、德坤新材、皓景PUR胶水、格致铝蜂窝板、博谷广告、居品冠静音大板、欧贝美拉手、捷诺威全铝挤压大板、PURETE普瑞特涂饰装备、赢客镁、诚誉智能机械、雄秀铝业、新淦拉手、准发机械、东莞依天全铝家居、浙江金伯伯机械、柏斯曼耐刮铝家居、画图大师拆单软件、汇俱建材、杰梵尼全铝整装、金伙伴建材、贵美全铝家居、柜临门蜂窝板、墨阳门窗、蜂能蜂窝胶PUR封边胶、河北天英星铝蜂窝板、瀚芯蜂窝芯、熙成家具、科亿鸿泰蜂窝芯、康川美固PUR胶水、陕西众邦全铝家居、广州圣琦全铝家居、步铝家居、BOLVFOM铂铝蜂、安徽恒美达新材料、卓益家居、澜凡全铝门、海邦全铝顶墙柜、双成A级防火镁瓷蜂窝板、澜璞植物木皮、铝木年华全铝室内门、东意NCT金属蜂窝板、峻诚SPC材料、佛山宸宇无胶蜂窝板、迈联赢创护墙板、百和美全铝家居、河南众晟达新材料、佛山派佳铝业、悦斯德全铝家居·····
上一篇:决战破晓:搬砖攻略以及变现手段!
下一篇:上期所沪铝主力合约跌超2%